Devon Energy’s patent involves a method and system for storing and recovering energy in a geothermal system. By controlling injection and production flow rates, pressure, and residence time, energy can be stored during low demand periods and recovered during high demand periods, optimizing energy production. GlobalData’s report on Devon Energy gives a 360-degree view of the company including its patenting strategy. Buy the report here.
Discover B2B Marketing That Performs
Combine business intelligence and editorial excellence to reach engaged professionals across 36 leading media platforms.
According to GlobalData’s company profile on Devon Energy, Remote controlled surveillance was a key innovation area identified from patents. Devon Energy's grant share as of March 2024 was 51%. Grant share is based on the ratio of number of grants to total number of patents.
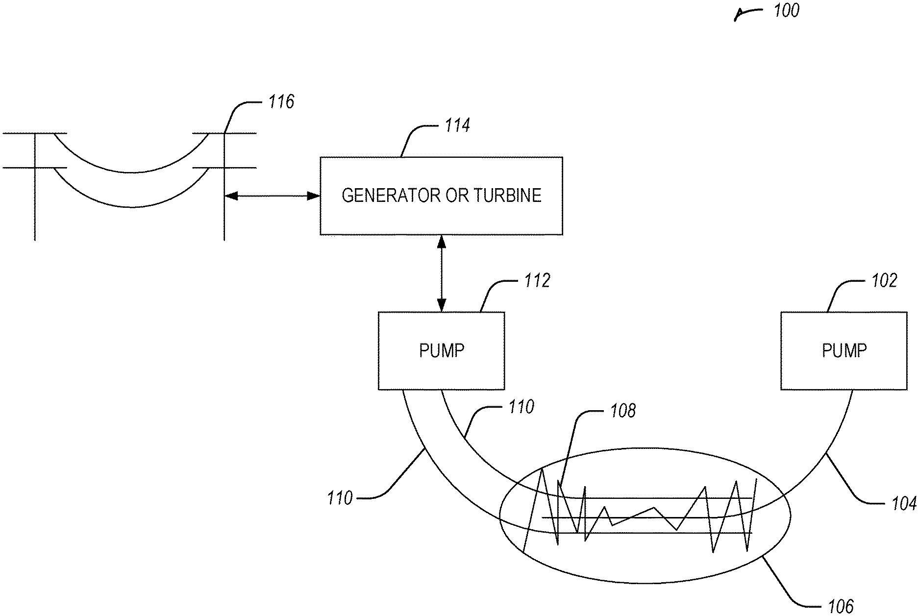
Geothermal energy storage and recovery system

A recently granted patent (Publication Number: US11927369B2) outlines a method for shifting geothermal energy production from periods of lower demand to higher demand. The method involves injecting fluid into a confined geothermal reservoir system using an injection well, producing fluid from the reservoir using a production well, and generating electric power at a baseline level by removing heat from the produced fluid. By modifying the flow properties of the fluid in the wells, the system can enter charging and discharging periods, where the net electric power generation fluctuates accordingly.
Furthermore, the patent details the creation of the confined geothermal reservoir system through various methods, including well stimulation treatments and the installation of injection and production wells in low-permeability or permeable geothermal formations. The system is designed to optimize power storage and delivery to the electric grid, with specific parameters set for round trip efficiency and duration of power storage. Additionally, the method includes the use of an Organic Rankine Cycle generator system to convert thermal energy into electricity, with adjustments made based on local ambient air temperature conditions to maximize efficiency. The system also incorporates control valves and artificial lift systems to enhance fluid flow and power generation, showcasing a comprehensive approach to geothermal energy production and storage.
To know more about GlobalData’s detailed insights on Devon Energy, buy the report here.
Data Insights
From
The gold standard of business intelligence.
Blending expert knowledge with cutting-edge technology, GlobalData’s unrivalled proprietary data will enable you to decode what’s happening in your market. You can make better informed decisions and gain a future-proof advantage over your competitors.

