Marathon Petroleum has patented a system for enhancing hydrocarbon processing in a FCC unit by introducing coked FCC catalyst and renewable feedstock like biomass-derived pyrolysis oil to the regenerator. This method optimizes regeneration of the catalyst, improving overall efficiency. GlobalData’s report on Marathon Petroleum gives a 360-degree view of the company including its patenting strategy. Buy the report here.

Smarter leaders trust GlobalData

Report-cover

Data Insights Marathon Petroleum Corp - Company Profile

Buy the Report

Data Insights

The gold standard of business intelligence.

Find out more

Discover B2B Marketing That Performs

Combine business intelligence and editorial excellence to reach engaged professionals across 36 leading media platforms.

Find out more

According to GlobalData’s company profile on Marathon Petroleum, Marathon Petroleum's grant share as of March 2024 was 64%. Grant share is based on the ratio of number of grants to total number of patents.

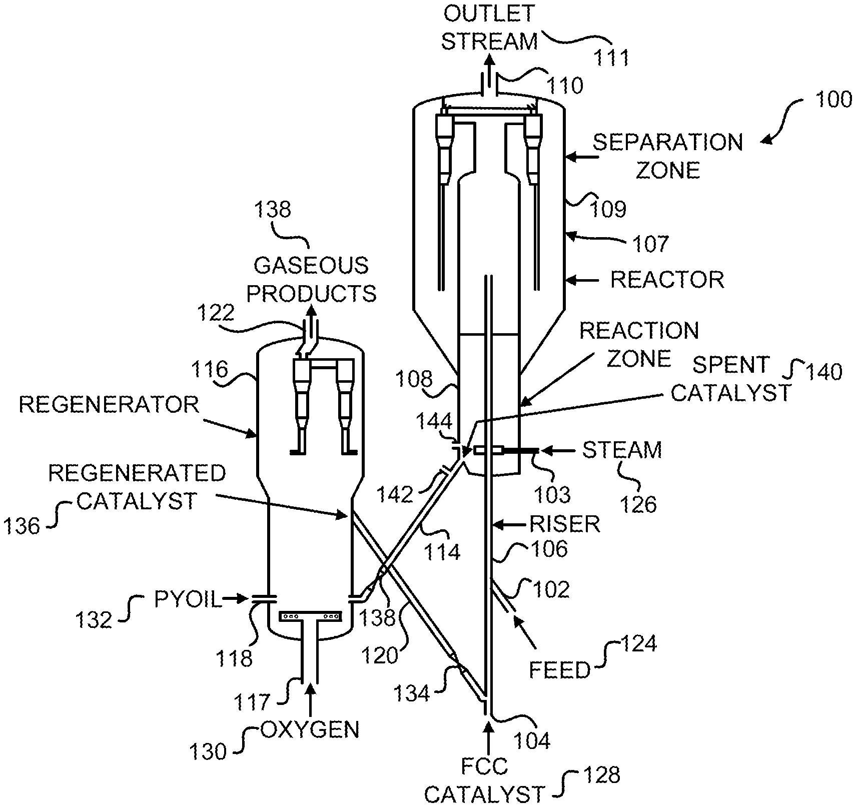
Enhancing hydrocarbon processing in fcc unit with renewable feedstock

Source: United States Patent and Trademark Office (USPTO). Credit: Marathon Petroleum Corp

A recently granted patent (Publication Number: US11970664B2) discloses a system for processing gas oil in a fluid catalytic cracking (FCC) unit. The system includes a reactor with an FCC reaction zone to crack the gas oil stream in the presence of steam and an FCC catalyst, a regenerator to oxidize coke on the coked FCC catalyst and biomass-derived pyrolysis oil, and a controller to adjust the amount of pyrolysis oil based on temperature indications to maintain optimal cracking and oxidation temperatures. The system also features a temperature sensor, a stripping zone to remove hydrocarbons from the coked catalyst, and various configurations for introducing the biomass-derived pyrolysis oil into the regenerator.

Furthermore, the patent describes a method for processing gas oil in an FCC system, involving mixing the gas oil with steam and an FCC catalyst, cracking the gas oil to produce hydrocarbon products, separating the coked catalyst, and supplying it to the regenerator along with biomass-derived pyrolysis oil. The method includes adjusting the pyrolysis oil amount based on temperature readings to ensure efficient cracking and combustion processes. Additional steps involve introducing the pyrolysis oil at specific locations within the system and maintaining an effective hydrogen index for the oil. Overall, the patent highlights a comprehensive approach to optimizing gas oil processing in an FCC system through controlled biomass-derived pyrolysis oil addition and temperature management.

To know more about GlobalData’s detailed insights on Marathon Petroleum, buy the report here.

Data Insights

From

The gold standard of business intelligence.

Blending expert knowledge with cutting-edge technology, GlobalData’s unrivalled proprietary data will enable you to decode what’s happening in your market. You can make better informed decisions and gain a future-proof advantage over your competitors.

GlobalData

GlobalData, the leading provider of industry intelligence, provided the underlying data, research, and analysis used to produce this article.

GlobalData’s Patent Analytics tracks patent filings and grants from official offices around the world. Textual analysis and official patent classifications are used to group patents into key thematic areas and link them to specific companies across the world’s largest industries.