TechnipFMC has been granted a patent for a subsea system that allows for the installation of multiple compressor trains on the seabed to increase capacity. The system includes foundation structures, compressor trains, fluid lines, and connection lines with flow regulation devices for efficient operation. GlobalData’s report on TechnipFMC gives a 360-degree view of the company including its patenting strategy. Buy the report here.
Discover B2B Marketing That Performs
Combine business intelligence and editorial excellence to reach engaged professionals across 36 leading media platforms.
According to GlobalData’s company profile on TechnipFMC, Water gas shift catalysts was a key innovation area identified from patents. TechnipFMC's grant share as of March 2024 was 59%. Grant share is based on the ratio of number of grants to total number of patents.
Subsea system with multiple compressor trains for increased capacity

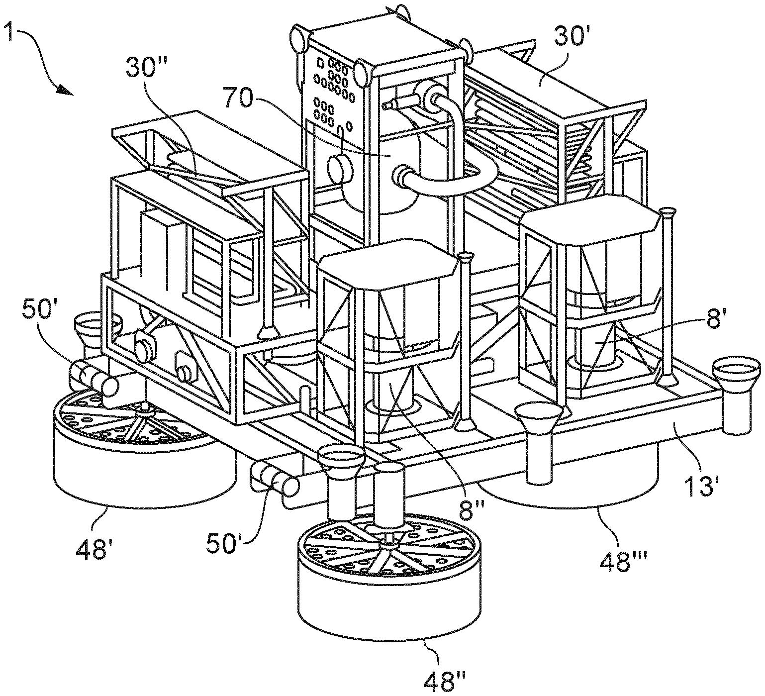
A recently granted patent (Publication Number: US11970924B2) discloses a method for installing a subsea system that involves connecting foundation structures on the seabed to support compressor trains and increase system capacity. The method includes installing foundation structures with connection interfaces, connecting compressor trains to well flow lines, and establishing fluid lines with regulation devices to connect multiple compressor trains. Additional steps involve installing coolers, starting production with the first compressor train, determining the need for increased compression capacity, and connecting the additional compressor train to the common outlet. The patent also details the installation of a second foundation structure to support the additional compressor train, forming a common foundation structure, and connecting the compressor trains to each other and the common outlet.
Furthermore, the patent describes a subsea system based on the method outlined, comprising foundation structures, compressor trains, fluid lines with regulation devices, and connection interfaces for supporting additional compressor trains. The system includes flow conditioning units, coolers, and the ability to pivot foundation structures for support. Components of the subsea system are movable on the common foundation structure, and additional equipment for operating system components is located at the same foundation structure as the compressor train. The system design allows for increased compression capacity and efficient operation of subsea systems in various underwater environments.
To know more about GlobalData’s detailed insights on TechnipFMC, buy the report here.
Data Insights
From
The gold standard of business intelligence.
Blending expert knowledge with cutting-edge technology, GlobalData’s unrivalled proprietary data will enable you to decode what’s happening in your market. You can make better informed decisions and gain a future-proof advantage over your competitors.

