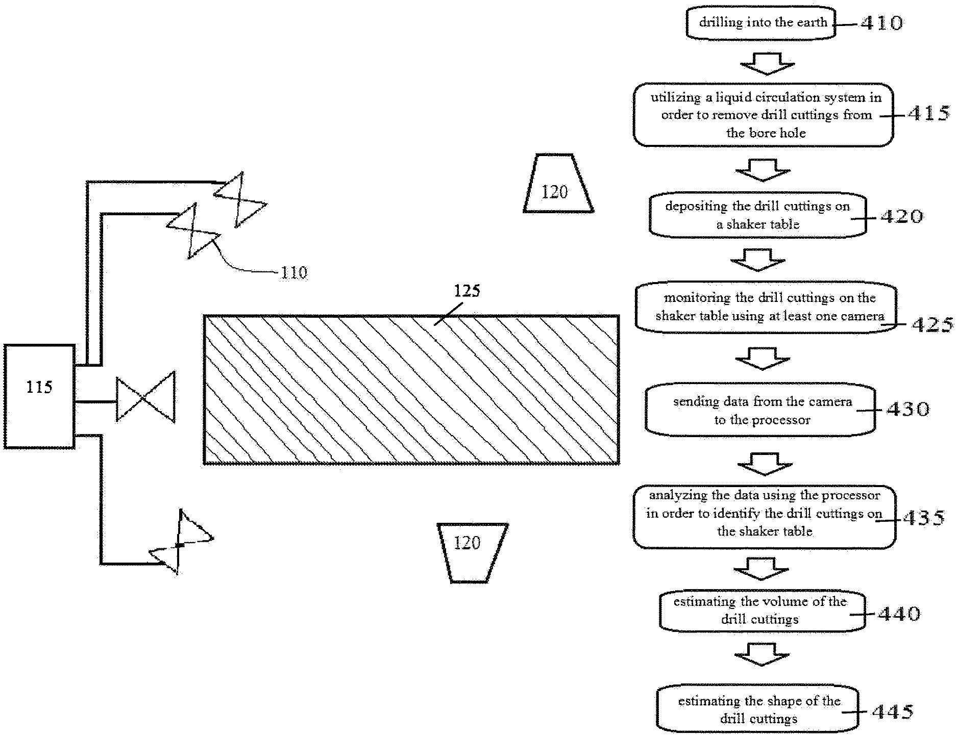
Helmerich & Payne has patented a computer vision system for monitoring drilling cuttings from a well bore. The system uses cameras and processors to identify and estimate characteristics of the cuttings, allowing for real-time monitoring and control of the well circulation system. The system can generate visual alerts for potential issues. GlobalData’s report on Helmerich & Payne gives a 360-degree view of the company including its patenting strategy. Buy the report here.
Discover B2B Marketing That Performs
Combine business intelligence and editorial excellence to reach engaged professionals across 36 leading media platforms.
According to GlobalData’s company profile on Helmerich & Payne, Helmerich & Payne's grant share as of March 2024 was 54%. Grant share is based on the ratio of number of grants to total number of patents.
Computer vision system for monitoring drilling cuttings from well bore

A computer vision system for monitoring drilling cuttings from a well bore has been granted a patent (Publication Number: US11948322B2). The system includes at least one processor and at least one camera connected to monitor components of a well circulation system. The processor can identify drilling cuttings based on visual data, estimate characteristics of the cuttings, determine the condition of the well circulation system, and control fluid flow based on this information. It can generate visual alerts on a user interface, such as annotated images of a shaker table with markings identifying potential issues. The system can adjust the shaker table angle or speed, receive distance data from sensors, and incorporate additional information about the well circulation system for comprehensive monitoring and control.
Furthermore, the system can receive drilling parameters, adjust shaker table settings, generate audible alerts, and control fluid flow based on predetermined conditions. The processor can also analyze the volume, shapes, and velocities of drilling cuttings to make informed decisions. By integrating distance sensing equipment and additional information like flow rates and pit volume, the system ensures a holistic approach to monitoring and controlling the well circulation system. The use of various types of cameras, such as optical, video, IR, LIDAR, or RGB-D, enhances the system's capabilities in capturing and analyzing visual data for effective monitoring. Overall, the patented computer vision system offers advanced features for real-time monitoring, analysis, and control of drilling cuttings in a well bore, improving operational efficiency and safety in drilling operations.
To know more about GlobalData’s detailed insights on Helmerich & Payne, buy the report here.
Data Insights
From
The gold standard of business intelligence.
Blending expert knowledge with cutting-edge technology, GlobalData’s unrivalled proprietary data will enable you to decode what’s happening in your market. You can make better informed decisions and gain a future-proof advantage over your competitors.

