Newpark Resources has been granted a patent for an apparatus and method related to mats and connectors. The invention involves a mat with a connector post that securely attaches a skin layer using a connector pin and locking structure. This innovation enhances the stability and durability of mats in various applications. GlobalData’s report on Newpark Resources gives a 360-degree view of the company including its patenting strategy. Buy the report here.
Discover B2B Marketing That Performs
Combine business intelligence and editorial excellence to reach engaged professionals across 36 leading media platforms.
According to GlobalData’s company profile on Newpark Resources, Treatment progress monitoring was a key innovation area identified from patents. Newpark Resources's grant share as of March 2024 was 52%. Grant share is based on the ratio of number of grants to total number of patents.
Apparatus for mats and connectors with locking structure

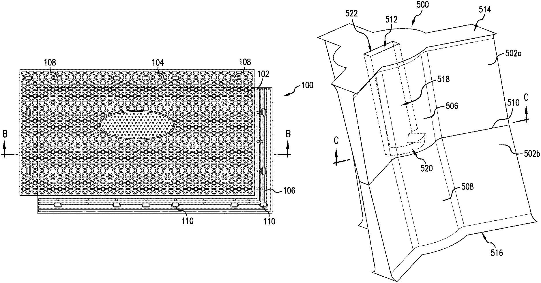
The granted patent (Publication Number: US11913179B2) discloses an apparatus comprising a mat with a top side, a bottom side, and an interior, along with a skin layer that can be secured to the mat using a connector pin and a connector post. The connector post includes a connector pin cavity with a locking structure to engage and secure the connector pin, thereby attaching the skin layer to the mat. The apparatus allows for easy installation and removal of the skin layer, which can be an electrically conductive cover, a high traction skin, or a timber panel.
Furthermore, the patent also describes a method for securing the skin layer to the mat using the connector pin and connector post. The method involves positioning the skin layer on the mat, installing the connector pin through the skin layer and into the connector pin cavity, and engaging the end portion of the connector pin with the locking structure. Additional connector pins can be used to secure the skin layer further, and the surface of the mat can be cut to expose the connector pin cavity for installation. The method provides a simple and efficient way to attach and detach the skin layer from the mat, allowing for easy customization and maintenance of the apparatus.
To know more about GlobalData’s detailed insights on Newpark Resources, buy the report here.
Data Insights
From
The gold standard of business intelligence.
Blending expert knowledge with cutting-edge technology, GlobalData’s unrivalled proprietary data will enable you to decode what’s happening in your market. You can make better informed decisions and gain a future-proof advantage over your competitors.

