NOV has been granted a patent for a downhole tool featuring a unique design with pistons and indexers to control fluid flow. The tool allows for selective movement of pistons based on fluid flow variations, enhancing efficiency in downhole operations. GlobalData’s report on NOV gives a 360-degree view of the company including its patenting strategy. Buy the report here.
Discover B2B Marketing That Performs
Combine business intelligence and editorial excellence to reach engaged professionals across 36 leading media platforms.
According to GlobalData’s company profile on NOV, Fall risk prediction was a key innovation area identified from patents. NOV's grant share as of March 2024 was 60%. Grant share is based on the ratio of number of grants to total number of patents.
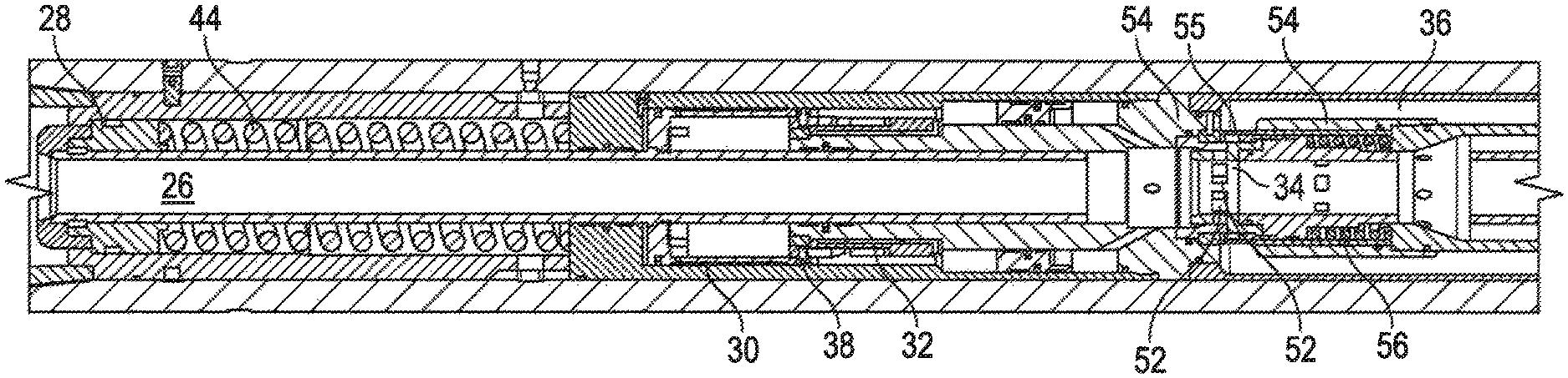
Downhole tool with pistons controlling fluid flow in tool

A recently granted patent (Publication Number: US11970919B2) discloses a downhole tool designed for use in oil and gas drilling operations. The tool comprises a housing, a first piston, an indexer, and a second piston that work together to control fluid flow and activate the tool. The first piston can move axially under the action of fluid flow, with the indexer controlling its movement between different axial positions. The second piston regulates the communication of fluid with an activation chamber, moving between closed and open positions in response to the first piston's axial movement. The tool is configured to be selectively activated based on variations in fluid flow, reconfiguring between active and inactive arrangements as needed.
Furthermore, the patent describes a downhole tubular string incorporating the innovative downhole tool, emphasizing the integration of the tool within a larger drilling system. The method for activating the tool involves manipulating fluid flow to move the first piston into a specific position, thereby triggering the movement of the second piston and enabling communication with the activation chamber. The design includes features such as a follower to dampen piston movement and an indexer with multiple pathways to control the sequential activation process. Overall, the patented technology aims to enhance operational efficiency and reliability in downhole drilling applications through precise fluid control mechanisms and selective tool activation based on flow variations.
To know more about GlobalData’s detailed insights on NOV, buy the report here.
Data Insights
From
The gold standard of business intelligence.
Blending expert knowledge with cutting-edge technology, GlobalData’s unrivalled proprietary data will enable you to decode what’s happening in your market. You can make better informed decisions and gain a future-proof advantage over your competitors.

