TotalEnergies has patented a process for endothermic steam reforming of hydrocarbons using a fluidized bed reactor with electrically conductive particles and catalytic composition. The method involves passing an electric current through the bed to achieve temperatures of 500°C to 1200°C, producing synthesis gas efficiently. GlobalData’s report on TotalEnergies gives a 360-degree view of the company including its patenting strategy. Buy the report here.
Discover B2B Marketing That Performs
Combine business intelligence and editorial excellence to reach engaged professionals across 36 leading media platforms.
According to GlobalData’s company profile on TotalEnergies, AI assisted CAD was a key innovation area identified from patents. TotalEnergies's grant share as of March 2024 was 63%. Grant share is based on the ratio of number of grants to total number of patents.
Endothermic steam reforming process using electrically conductive particles

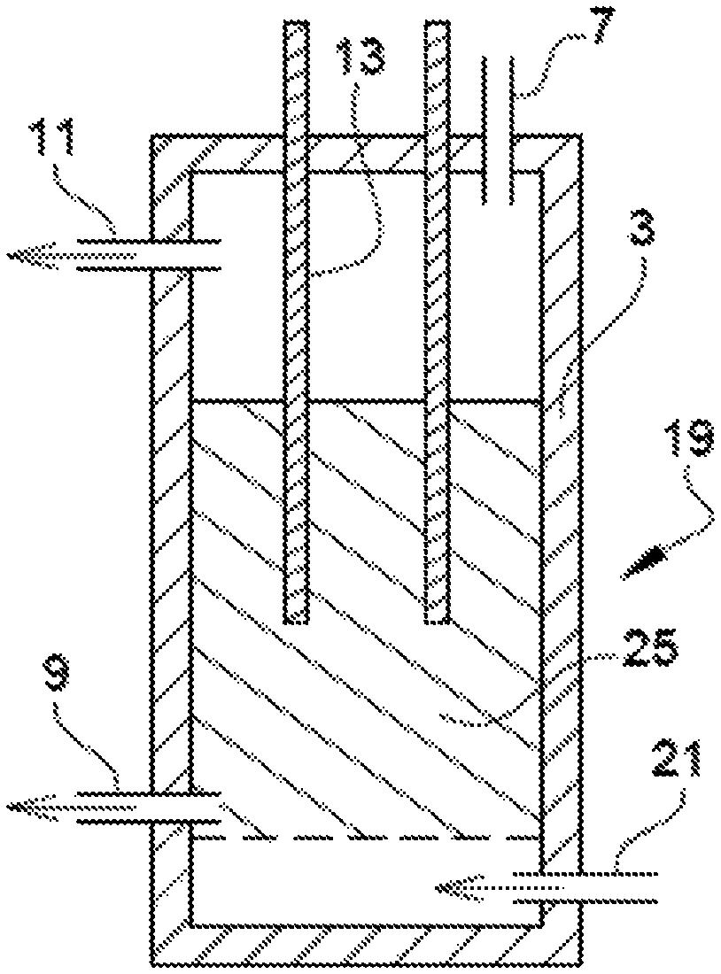
A recently granted patent (Publication Number: US11964868B2) outlines a novel process for conducting an endothermic steam reforming of hydrocarbons to produce synthesis gas. The process involves utilizing a fluidized bed reactor with specific characteristics, including the presence of electrically conductive particles and a catalytic composition. The method includes steps such as heating the fluidized bed to a specific temperature range, conducting the steam reforming reaction in the presence of steam, and utilizing specific types of electrically conductive particles in the bed. Additionally, the process involves pre-heating the reactor and passing an electric current through the fluidized bed to achieve the desired reaction temperature.
Furthermore, the patent also describes an installation for performing the endothermic steam reforming process, which includes a fluidized bed reactor with specific components such as electrodes, a reactor vessel, and fluid nozzles for introducing gases. The installation is characterized by the presence of electrically conductive particles and a catalytic composition in the bed, with specific resistivity and composition requirements. The installation can consist of multiple fluidized bed reactors connected in various configurations, each serving different functions such as heating and reaction zones. Overall, the patented process and installation offer a unique approach to steam reforming of hydrocarbons, potentially leading to more efficient synthesis gas production.
To know more about GlobalData’s detailed insights on TotalEnergies, buy the report here.
Data Insights
From
The gold standard of business intelligence.
Blending expert knowledge with cutting-edge technology, GlobalData’s unrivalled proprietary data will enable you to decode what’s happening in your market. You can make better informed decisions and gain a future-proof advantage over your competitors.

